A compact hydrogen-powered UAV with elongated wings could stay aloft for weeks at a time, a patent claims (Image: Wipo)
Aerospace giant Boeing wants to build uncrewed planes that can stay aloft for as long as a month, and a new patent application says powering them with hydrogen is the way to do it.
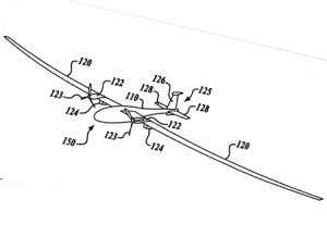
The aircraft is essentially a liquid-hydrogen fuel tank with a payload bay and very long wings (see image, right).
This design differs from most other uncrewed aerial vehicles (UAVs), which use their wings as fuel stores, thus restricting their aerodynamic design.
Advertisement
Because the wings don’t have to serve double duty, they can be made longer, thinner and more efficient. The craft’s fuel tank would store liquid hydrogen in vacuum flasks, thawing it out as needed to fuel propeller engines.
Boeing claims such a design could fly for 10 days or more at 60,000 feet (18,288 metres) and for as long as 30 days at lower altitudes, all while carrying payloads of up to 450 kilograms.
Those capabilities should appeal to more than just the military. Such craft could make it easier to grab high-resolution aerial photos for online mapping services or wildlife monitoring, and could even provide wireless connectivity in remote areas.
Read the hydrogen powered UAV patent application.
Since the 1970s, New Scientist has run a column uncovering the most exciting, bizarre or even terrifying new patented ideas – find the latest stories in our continually updated topic guide.
Read past Inventions: Microscopic bio-robot slaves, Personal life mapper, Diamond dialysis implant, Healing accelerator, Bespoke spinal splints, Excrement antibiotic, Self-replicating materials, Treatment for fragile X, Dust buster, Birthing computer, and Eyeball stiffener.
Topics:



